帮助中心
热门问题
帮助中心
热门问题
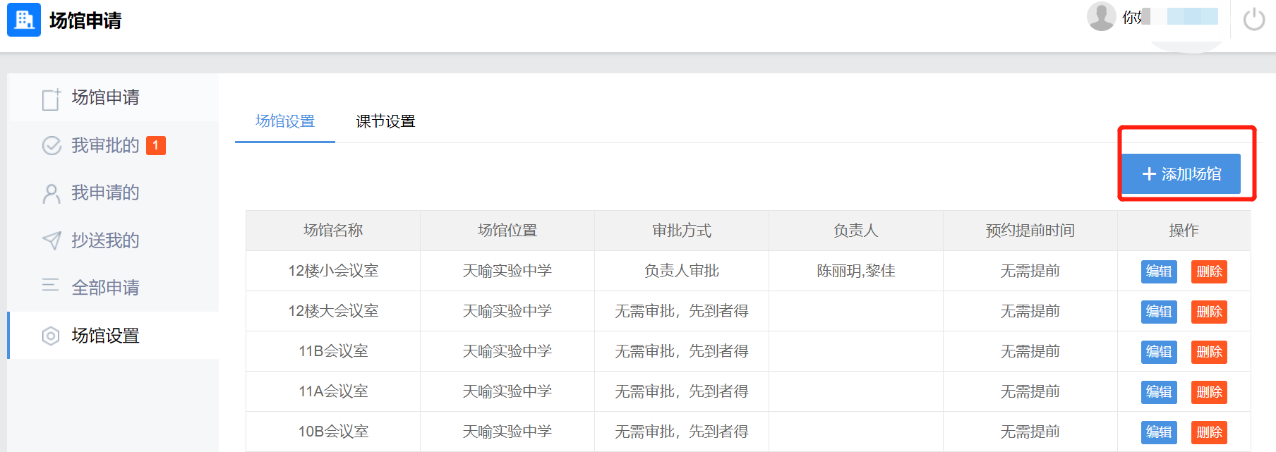
第一步:管理员登录web端场馆申请应用,进入场馆设置菜单,点击添加场馆按钮。

第二步:根据场馆后续被申请的特点,可分别设置是否需要审批;
选择地点:场馆添加中的地点信息来自物联管理应用中已添加的部分地点信息。
需要审批:可根据场馆被申请特点选择申请时是否需要审批,若需要审批,则填写的负责人则为审批人,填写的抄送人在此场馆被申请通过后,会发送消息给抄送人。
提前天数:可设置场馆申请是否需要提前申请。

文档是否有解决您的问题?
有帮助
无帮助
在线客服
